医药流通:库存清晰返利实时计算,好业财助力医药产业一体化
- 2024-12-20 16:00:00
- 掌柜 原创
- 1182
商业公司向我们 药企厂家采购,后续销售给医药终端,诸如医院、药店等, 每笔采购与销售要按每种药品计算采购返利和销售返利。
商业公司和终端较多,不仅要对药品进销库存跟踪管理,还需要统计每个单品返利的未付和已付详细数据,特别费时,难统计。
重庆某医药公司 :
公司成立时间不久,随近年市场变化,业务快速增长,手工商品进销跟踪管理以及返利计算已无法满足需要,对进销财务一体信息化管理日趋强烈。
好业财解决方案 :
与侯总沟通并确认业务场景,我们给出的是 好业财标准版业财一体化应用方案,实现药品的进销跟踪管理,定义返利计算逻辑,实现进销后返利数据的实时统计。
需求一、每种商品的采购返点与销售返点固定且不同,实时计算返利
业务难点:每种商品
返点固定,要区别
商业公司采购返点与商业公司销售给医药终端返点,且实时要在单据计算返利
解决方案:通过好业财
商品档案自定义项,灵活定义每种
商品不同的采购和销售返点,并支持与商品档案导入,减少手工维护。
在单据上 按企业需要规划采购和销售返利逻辑,实现单据每种商品返利实时计算
需求二、每笔返利对应详细商品,且返利要与货款分开统计
业务难点:不仅要直接展示本单的返利,还需要按某种商品的返利分别列示,体现每种商品返利与货款分开的已付和未付的详细数据
解决方案:使用好业财 劳务属性商品体现每个明细商品的返利数据。实现 货款和返利金额的分开展示和统计,好业财多维度报表,呈现货款 /返利已付和未付情况一目了然。
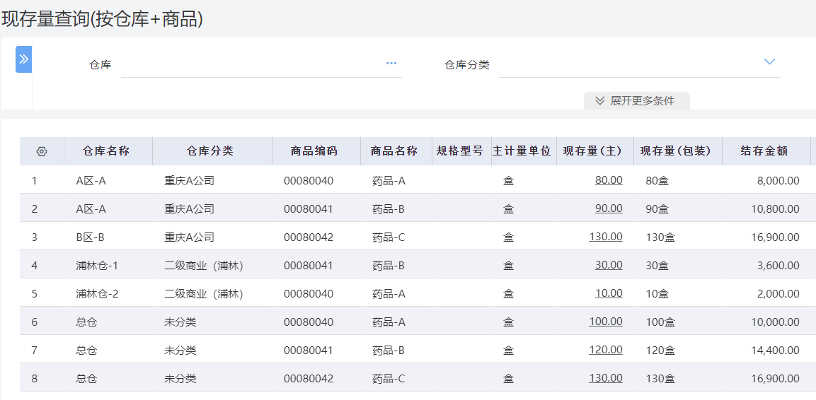
需求三、各级商业公司库存清晰
业务难点:一级商业公司与二级商业公司,各自都有多个不同仓库,要清楚知道商品流向以及各自库存情况。
解决方案:使用好业财仓库分类为商业公司,并建立商业公司的各自仓库,商品流动使用 调拨业务实现一级商业公司和二级商业公司的库存跟踪,各级商业公司库存清晰。
| 联系人:张总 | ||
| 电话:400-8531-676 | ||
| Email: 632180256@qq.com | ||
| QQ: 632180256 | ||
| 微信:15562588153 | ||
| 网址: www.huizusoft.net | ||
| 地址:山东济南市历下区工业南路61号山钢新天地广场9号办公楼15层 | ||
二维码图片:
|
||
| :661650ca05adb |









